• 河北疫情是几级/河北疫情是几级防控

    河北风险等级一览表〖壹〗、藁城区:全域为高风险地区新乐市:全域调整为高风险地区中风险地区长安区:河北省胸科医院公寓北区高新区:同祥城小区C区正定县:冯家庄村、东平乐村平山县:访驾庄村赵县:任庄村邢台市高风险地区南宫市:全域...

    2026-03-16
    51
  • 镁企业抗疫情(企业 抗疫情)

    镁资讯:打造镁产业航母集群,我们有信心〖壹〗、五台云海镁业致力于打造山西镁产业航母集群,对未来发展充满信心。具体体现在以下几个方面:企业基础与优势行业地位:中国是世界镁都,山西是全国镁生产大省,五台云海镁业是山西省著名的镁合金生产企业,也...

    2026-03-16
    52
  • 疫情国内慈善演出(疫情国内慈善演出视频)

    深圳因疫情取消或延期演出总结〖壹〗、深圳戏院部分演出取消为满足当前疫情防控要求和参展商的健康安全,原订于2021年6月4日至2021年6月6日举办的“33ozVintageShowx芒草节”现延期,将于近期举办。取消/推迟演出刘东红原定于...

    2026-03-16
    53
  • 中国疫情网肺炎/中国肺炎实时动态数据

    此次疫情,会给国家造成多大的损失?〖壹〗、此次疫情对国家造成的经济损失难以精确量化,但综合多方面因素,预计对中国经济的影响大约在0.2%-0.4%之间。具体分析如下:实际停工时间与假设不符:疫情期间,虽然部分地区和企业受到防控措施影响,但...

    2026-03-16
    54
  • 【辽宁19号疫情,辽宁19日新增】

    沈阳一小区居民扭秧歌庆祝解封,这么庆祝是否有点大题小作?这一次根据新闻媒体的报道,在沈阳的一个小区里边儿,突然小区业主开始集体扭秧歌来庆祝自己的姐夫,主要就是因为他们已经接受了21天的隔离,在这21天的时间里边儿,他们总共接受了五次的检测...

    2026-03-16
    58
  • 疫情小卫士图(疫情小卫士手抄报图片)

    防控疫情宣传海报-幼儿园画抗击疫情的手抄报幼儿园手抄报〖壹〗、抗击疫情的手抄报如下:第一张:第二张:抗击疫情手抄报文字如下:一场疫情,让我们明白:人生来来往往,并无来日方长,生命脆弱短暂,必须懂得珍惜。趁现在还活着,想做的事,别拖延,想见...

    2026-03-16
    55
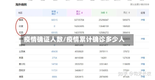
  • 疫情确证人数/疫情累计确诊多少人

    支付宝怎么查询全国现有确诊人数在支付宝中查询全国现有确诊人数,可按以下步骤操作:打开支付宝并进入【市民中心】打开支付宝应用,在首页找到并点击【市民中心】功能入口。注:若首页未直接显示【市民中心】,可通过顶部搜索栏输入关键词快速定位。进入【...

    2026-03-16
    58
  • 楼市下跌要靠疫情(房价下跌是必然)

    2020年的楼市走势如何?疫情过后是否会大跌?〖壹〗、020年楼市整体不会大跌,疫情后核心城市房价长期看缓慢上涨,但不同城市会出现分化。具体分析如下:2020年楼市整体走势整体不会大跌:新冠疫情虽利空楼市,但只是个别城市有波动,2020年...

    2026-03-16
    56
  • 疫情环境学/疫情环境设计

    ⑩环境伦理学简述〖壹〗、环境伦理学是一门探讨人类与自然环境之间道德关系的学科,旨在扩展传统伦理学的道德关怀范围,将动物、生命乃至整个生态系统纳入道德考虑,并反思人类中心主义的局限性,强调人与自然的和谐共生。具体阐述如下:环境伦理学的兴起背...

    2026-03-16
    54
  • 不停学战疫情/抗击疫情停学不停课

    关于停课不停学作文范文5篇停课不停学作文1由于“新型冠状病毒”事件以武汉为发源地,正逢春节放假期间,人流量大撒流向全国各地,致使疫情在不断扩散。这也阻挡了我们通往“知识学府”的道路,可莘莘学子怎么会因此而真正断绝对知识的渴望与需求呢...

    2026-03-16
    55